+86-15996058266
Casa / Notizia / E-ASIA Brevetti e vantaggi / E-ASIA Brevetti e vantaggi

E-ASIA Brevetti e vantaggi

numero Sfoglia:0     Autore:Editor del sito     Pubblica Time: 2022-08-17      Origine:motorizzato

Richiesta

facebook sharing button
twitter sharing button
line sharing button
wechat sharing button
linkedin sharing button
pinterest sharing button
whatsapp sharing button
sharethis sharing button

Siamo in grado di offrire cuscinetti di accoppiamento di metallo lurgy, camion da miniera e piattaforme offshore di perforazione e riparazione di cuscinetti con i nostri prodotti e servizi di alta qualità


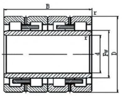
Cuscinetto a rulli cilindrici a quattro corone di lunga durata

I cuscinetti del laminatoio cilindrico a quattro file sono divisi in due tipi di laminatoio in acciaio e laminatoio in alluminio.La loro velocità di rotazione è rispettivamente di 400-600 giri/min (acciaio) e 1500-2000 giri/min (alluminio).


I cuscinetti a rulli cilindrici a quattro corone possono sopportare carichi radiali e carichi d'urto molto più pesanti.Hanno una maggiore precisione e possono essere applicati nelle apparecchiature che funzionano con un'elevata velocità di rotazione.La rettifica della superficie della pista di rotolamento e del rullo contemporaneamente dopo che l'anello interno è stato premuto sul collo del rullo, favorisce il miglioramento della precisione di rotolamento e la libera regolazione del gioco di montaggio dei cuscinetti.Questi cuscinetti sono principalmente applicati al rullo di lavoro e al rullo di appoggio dei laminatoi e in alcuni altri casi.
FC: anelli esterni doppi, anello interno singolo e interno senza flangia.
FCD: doppi anelli esterni, doppi anelli interni e anello interno senza flangia.
FCDP: doppi anelli esterni, hanno solo ala centrale, ma con nervatura libera, doppio anello interno, interno senza ala.


Cuscinetto n Dimensione (mm) Carico di base (kN) Massa (kg)
dxDxB din.(Cr) Stat.(Cor)
FC2640125 130x200x125 530 1200 14.6
FC3045120 150x225x120 645 1450 16.7
FC3246130 160x230x130 665 1705 16.9
FC3248124 160x240x124 685 1530 20.3
FC3248168 160x240x168 685 1530 26.4
FCD3446160 170x230x160 1100 2360 20
FC3452120 170x260x120 660 1790 24.6
FC3652124 180x260x124 735 1730 21.7
FC3652168 180x260x168 1070 2790 30.2
FC3652168/YA3 180x260x168 1070 2790 30.1
FC3854168 190x270x168 950 2430 30.2
FC3854168/YA3 190x270x168 950 2430 29.9
FC3854170/YA3 190x270x200 950 2430 30.2
FC4056188 200x290x192 985 2580 35.7
FC4462192/YA3 220x310x192 1300 1910 45.8
FC4462225 220x320x210 1450 4050 53.9
FC4666206/YA3 230x330x206 1350 3800 56.5
FC4866220/YA3 240x330x220 1620 4850 56.5
FC4866220 240x330x220 1620 4850 56.7
FC4872220 240x360x200 1700 4410 78
FC4872220A/C4YA3 240x360x200 1700 4410 78
FC5072220/YA3 250x360x220 1500 4250 76.9
FC5274200 260x370x200 1570 4250 73
FC5274220/YA3 260x370x220 1760 4900 79.2
FC5274220 260x370x220 1760 4900 80
FC5476230/YA3 270x380x230 1720 4800 80.2
FC5478230 270x390x236 2100 5950 97.8
FC5678220 280x390x220 1790 5150 86.5
FCDP5678275 280x390x275 2200 6250 102
FC6490240/YA3 320x450x240 2460 6720 119
FCD72102370 360x510x370 3850 11400 220
FCDP74104380 370x520x380 3900 12000 296
FCDP88124450 440x620x450 5200 15800 452
FCDP88124450/YA6 440x620x450 5200 15800 452
FCD96130450 480x650x450 4750 15400 419


60 anni di storia dalla fondazione, i cuscinetti E-ASIA hanno ottenuto i marchi SLYB, JSS.
Contattaci
  NO.88, E-ASIA edificio 1-6 piano, parco industrie Jingjiang, provincia di Jiangsu, Cina
  sales@zwz-skf.com
  +86-15996058266
  rachelsun168

Prodotti

Link Veloci

Diritto d'autore © 2023 E-ASIA Bearing Co., Ltd.  Sitemap Sostenuto da Leadong